Views: 18
我们外贸人的困惑……

困惑、困扰太多了,那么,今天我们就先解决我们的目标客户要的是什么的问题,针对性推荐总比漫无目的营销来得有价值,那么,海关数据可以很直接让我们知道我们的客户他的历史采购情况,为我们制订下一步的市场策略、产品策略、营销工具选择起到了重要而深远的意义!
(一)海关数据是什么?
海关数据就是海关履行进出口贸易统计职能中产生的各项进出口统计数据。海关统计的任务是对进出口货物进行调查、分析和监督,提供统计服务。
海关会定期发布进出口统计预警监测数据。数据会具体到某类行业、某类商品。
概述:海关数据展现各国的进出口贸易资讯情报及各国各地区海关关、提单数据,通过对这些数据内容的深度挖掘,可以帮助企业及时、全面、可观的掌握市场动向,分析海外市场商业情况。
(二)海关数据统计原理是什么?
海关数据是国家制定对外贸易政策的依据,也直接外贸企业分析贸易形势的重要工具,国家大力支持大数据发展的背景下,不少外贸企业也越发意识到海关数据在对外贸企业的拓展有不可忽视的作用。
那么,海关数据是怎么统计的呢?
1、海关定义的“货物”
实际进出关境,并引起境内物质存量增加或减少的货物。
2、海关定义的“物品”
超出自身合理使用数量的进出境物品。
1、我们在海外旅游时购买的自用或馈赠亲友的商品,如化妆品、手机、饰品等,只要数量在合理范围内,都不会纳入海关数据统计。
2、因文艺演出、展览等原因暂时出境的货物。
3、过境、转运、通运的货物,
4、货币及货币用黄金。
5、租赁期一年以下的租赁进出口货物。
6、因各种原因免费补偿或替换的进出口货物。
7、在海关监管区域之间、或与境内区外调拨转移的货物。
8、以维修为目的进出境的货物。
9、加工贸易的边角料或边角料复出。
按照海关的相关规定,货物的进口按照海关放行的日期;而货物的出口则按海关手续办理完结的日子统计。
(三)海关数据的价值和意义是什么?
深度挖掘应用:
– 随时了解国外的进口状况,开拓新市场;
– 掌握国外市场全部客户,正确辨别优质买家,建立直接合作;
– 洞悉产品结构变化,掌握市场最前沿信息,监控行业动态发展;
– 全面监控现有买家的采购忠诚度,及时避免合作危机;
– 全面了解市场供求变化状况,及时调整出口战略;
– 把握全球竞争对手发展状况,随时调整竞争策略。
外贸企业对海关数据的应用:
1.快速找到适合自己的买家 海关提单是买卖双方的交易凭证,并且每月更新,不仅保证了买家信息的真实、准确和适时性,而且都是当前活跃的买家;同时通过对其交易记录的查询和分析,可以清楚地知道买家的采购产品和实力,从而找到最适合自己的买家。
2. 掌握买家采购规律 通过对买家交易记录的跟踪与分析,可以发现其产品数量、出货时间、补货时间之间的关系,找出买家的采购规律。在最佳时间将公司产品推荐给买家,增加签单成功率。
3. 提高现有买家忠诚度 通过对现有客户交易记录的跟踪和分析,能够知道同一类产品该客户还从哪些供货商处采购,通过对竞争对手和自己的对比分析,寻找到突破口,进一步巩固客户关系,提升客户价值。另一方面根据订单的异动情况,预先把握买家可能的动向,对已有市场策略进行改进或调整,规避风险。
4. 救回已经或即将失去的客户 通过对客户交易记录和竞争对手的对比分析,发现买家的关注点,找到自身产品、交货、沟通等环节存在的问题,针对性地改进和调整,更好的与买家沟通,重新获得客户的认可。
5. 竞争对手监控 通过对买家交易记录的跟踪,找出同类产品的其他供货商和其在交易中的变动,同时,可对竞争对手交易记录全程跟踪,掌握其买家资料和交易记录,再加上对竞争对手背景和生产经营状况的分析,真正做到知己知彼,从而灵活、针对性地调整自己的市场策略,让自己处于竞争中有利地位。
6.从已倒闭之竞争对手中,进行客户接收 通过对竞争对手交易记录跟踪,能够掌握其买家资料和采购规律,并能判断竞争对手的经营状况,一旦竞争对手倒闭,能够第一时间对其客户做出反应,获取最大利益。
7. 产品在目标市场的需求分析、交易实况、预警 以发法国市场的红葡萄酒为例。通过法国海关提单数据库,可以找出法国市场全部的红葡萄酒卖家,根据其全年的采购量,可以统计出法国市场红葡萄酒的总需求量;同样,通过交易记录可以找出针对这些卖家的全球供货商及其供货量,并可以适时掌握红葡萄酒的交易状况,从而掌握红葡萄酒产品的总市场需求量、全球范围内的竞争对手、自己所占比例,配额的使用情况,未来的市场走向、可能的贸易壁垒等信息,为企业市场营销、产能扩张等决策提供关键参考。
8. 把握目标市场流行趋势 通过对目标市场买家及其交易记录的跟踪,能够从买家采购产品中发现某一产品的市场需求变化,能够及时发现新产品、新材料的出现,让自己第一时间把握目标市场的流行趋势,使自己的产品开发与国际市场同步,全面提升企业竞争力。
9. 找到利润较高的买家和地区 通过对提单数据的挖掘、分析,可以为某一特定产品找出利润较高的买家和外销地区,降低企业的外销成本,提高企业外销利润。
10. 发现潜在的投资机会 通过对交易记录的跟踪、统计分析,可以发现某个国家或地区的出货量变动情况,预先发现产业转移的先兆,抢先一步进行战略布局。同时,可以第一时间掌握交易货品中出现的新材料、新技术、新工艺、新产品等。
1、通过海关数据可以快速分析目标市场;
2、了解行业市场信息、掌握行业趋势;
3、了解和掌握行业新的变化和需求;
4、了解目标市场所处的阶段:萌芽期、发展期、成熟期、衰退期;
企业可以通过分析海关数据,了解和判断自身、竞争对手在行业市场中的地位、实力和差距:
1、指导企业制定采购计划和安排;
2、减少库存资金占用;
3、降低库存;
4、掌握买家的真实采购状况;
5、发现新产品、挖掘目标市场新需求等
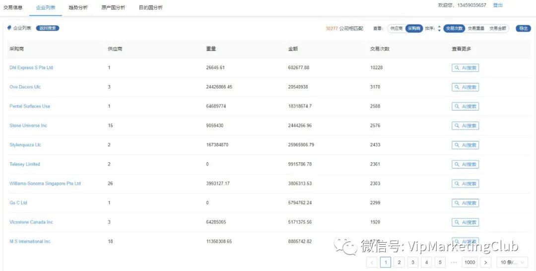
1、快速找到优质采购商:例举,输入关键词“stone”,或者按照不同字段进行筛选你所需要的数据,进行查找;
在产品stone搜索结果当中,可以把同一个公司的海关数据进行统计分析,筛选出企业列表(可以对供应商和采购商进行层次分析,针对交易次数、交易数量、交易金额进行序列分析,同时可以升降序排列),最重要的是可以一键导出,对我们供应链市场和采购市场进行有针对性分析,对于初创期的公司,或者从事外贸多年的企业来说,这些都是非常有价值的数据。


每票货的提单信息及更多信息,方便对采购商的现有需求和其它潜在需求进行分析,为针对性开发客户提供重要数据参考:


2、开发新市场,快速拿到新订单
以Furniture为例进行数据分析,通过海关数据我们发现原来一直出口的国家外,发现了美国是占比最高的,第二的是越南,第三是印度,因此,可以关注目标市场,假如以美国为例,深入分析市场需求,掌握采购商信息,开拓新市场。



以美国为例,深入分析市场需求,掌握采购商信息,开拓新市场。
1).以美国为例,查看该产品furniture美国在全球采购情况,中国大陆占比多少,分析市场竞争力。


2).全球同行在美国出口Furniture情况,可点开看详单:多少买家,什么价格,出口量大小,一键导出,点击关注,任何动态都可随时掌握。

3.最重要的是美国所有采购Furniture的买家,合作伙伴情况,具体采购情况,按交易重量排序,也可按次数或其他,大客户一目了然,在线加好友,需长期跟进开发。


4.刚开始采购Furniture的买家,供应链还不是很稳定的客户,或者打样试订单的客户。先从这部分买家入手,产品质量,价格没问题,很快就能拿到订单。


3)鉴别B2B询盘,筛选真实买家
很多B2B的询盘都是小10几个群发,大上百个群发询盘,到底他们是否是真实的买家呢?作为我们业务的开发者来说,我们心里一直犯嘀咕,不过,自从有了海关数据后,你可以利用他们提供的公司名称等进行验证是否是真实买家。以便,将有效时间放在真实的买家身上,是买家对比无可厚非,但是作为业务没找准买家,反而被竞争对手套走了报价单就不值当了哈


总之,海关数据可以帮你做到以下几个方面:1
-合作中的老客户:提升现有订单量、向老客户卖新产品;
-正在跟进的客户:及时排除不合适的买家,将精力用在重点买家身上;
-曾经合作的客户:查询其现有的供应商,拟定再次跟进的策略,提高再续前缘的机会。
4)全面了解展会买家背景
可能,你的企业在展会中收集了很多国外采购商的名片,展会回来后外贸人员立即邮件和客户联系,但很多客户回复很慢甚至不回。亦或,外贸人员频繁邮件给客户却始终未得到回复。
正确的姿势是什么呢?借助海关数据,查询该采购商的历史采购记录,针对性地再推荐,或者深入挖掘不回复的真实原因,是在中国有开分公司、还是未有采购计划,还是推荐的产品不合适,还是产品价格高得离谱,针对性解决问题,才有机会进入销售的下一阶段。
(1)在参展前,对“匹配的买家”发邀请函,提高展会的来客量,也提高公司的知名度;对有意向参展的客户做好备案记录,告知展位,展会约见。
(2)在参展中,对来摊位的买家的实际背景及实力全面了解,知己知彼以提高现场谈判质量。尤其是注意一些采购量大的客户,比较有名的采购商。看到名片第一眼就能知道,抓住机会交流。
(3)在参展后,对展会名片进行筛选,列出跟进优先级并根据级别安排能力不同的人员跟进。
以cutting machine美国采购商为例:





(四)海关数据主要有哪些获取渠道呢?
分成三大类,行业大数据分析的联合国海关数据分析、社会公众查询的海关总署,以及市场上售卖的海关数据渠道
1、联合国海关数据 https://comtrade.un.org

2、社会公众如何线上查询海关统计数据
具体操作流程如下:
(1)进入海关总署 http://www.customs.gov.cn

(2)根据面包屑导航:当前位置:首页 > 政务公开 > 政府信息公开专栏 > 法定主动公开内容 > 海关统计 > 统计快讯
直接目标网址:http://www.customs.gov.cn/customs/302249/zfxxgk/2799825/302274/302275/index.html

(3)选择数据在线查询,即可到达目标网址: http://43.248.49.97/
这里特别说明一下,亲测用360浏览器等没办法看到验证码没法查询,大家可以直接通过谷歌浏览器等进行查验~


3、市场售卖的海关数据:
根据自己接触的列举一些,让大家做个参考,很多平台都是有免费和付费的会员,可以先试用看看;另外,市场定价也参差不齐,功能、数据更新速度也有很大差别,价格也有1000元-3万元-5万元不等,坑很多,用了才知道哈,欢迎大家留言探讨沟通~
至今,付费购买过磐聚网,麦穗搜索,互易数据,外贸公社,上海威纳等,同时,也接触到很多的海关数据,主要包括以下几个方面:
源头的海关数据主要包括:
磐聚网https://cn.panjiva.com
特易https://ad.topease.net
上海双击/外贸公社https://www.tradesparq.com
上海腾道https://www.tendata.cn
拓展后的海关数据接触到的:
互易海关数据系统 http://data.foreasy.cn/login
优贸网/外交圈 https://www.b2b3.com
外贸邦 https://www.52wmb.com
易之家https://www.tradesns.com
国贸通http://www.gtradedata.com
环球慧思http://www.globalwits.com/ch/index.html
小多资讯http://www.shalldo.net/index.html
……
以上,就是接触的数据来源渠道,只是和各个同行沟通后了解到的资讯,纯属个人的看法,没有针对哪一家的意思,如有不同意见,欢迎大家留言交流探讨~
(五)海关数据实际运用的正确打开方式是什么呢?
目标客户画像
目标市场分析
采购决策链构成分析(结合其它工具)

建议:先通过客户的进口记录,如采购数量、价格、日期、原产国等,重点筛选一批适合自己工厂(如供货量、供货周期速度、产品质量、价格等)的客户群,再针对性地找出这些客户的联系方式,然后在了解客户采购基础的情况下,有针对性给客户发邮件,打电话。所以,我建议,购买海关数据,不要侧重联系方式。如果你看重联系方式,被骗的概率就很大。因为数据里的联系方式无法追踪有效性和针对性。
建议:买海关数据的使用思路是:快速找到有需求的潜在客户资源库,通过客户的采购记录,匹配适合自己的客户群(如客户的采购量、采购价格、供应商分布、采购周期等和自己是否匹配),然后自己用搜索引擎、LinkedIn、Facebook等组合方式针对性地找出重点客户群的联系方式(优先找公司的老板和采购部,其次是官网和销售部),进行有效跟进和推销。
建议:市面上很多工具都可以整合互联网搜索引擎、SNS社媒数据、邓白氏数据、展会数据等各渠道端口数据,并对这些数据进行有效性验证,同时,针对目标客户进行EDM营销、WhatsApp营销,AMB营销等,从而,产生高效获客和转化询盘的效果!
(五)该有的获客营销模式是什么呢?
1.覆盖全网无死角的采购商资源

2.精准提供关键人联系方法、社交账号

3.信息资源高度整合、一键获取

4.营销流程闭环设计简单、高效、方便

5.具体操作方式演示:
5.1全网搜索买家联系方式,并进行邮件和SNS进行沟通



5.2海关数据搜索





















